基于主成分分析的盐焗鸡综合品质评价模型构建

陈 超1,韩佳晶1,2,李明宇1,姚 晶2,王振宇1,张德权1,3,张春江1,3,*

(1.中国农业科学院农产品加工研究所,农业农村部中式肉类菜肴制品加工技术集成实验室,北京 100193;2.黑龙江东方学院食品工程学院,黑龙江 哈尔滨 150066;3.中国农业科学院都市农业研究所,国家成都农业科技中心,四川 成都 610213)

摘 要:以广东产的6 种经典盐焗鸡产品为研究对象,通过品质指标构建评价模型,旨在建立一套能够直观且客观评价盐焗鸡感官品质的综合性模型。采用顶空固相微萃取-气相色谱-质谱联用技术,结合气味活度值法,筛选出11 种关键风味物质,结合蛋白质、水分、脂肪含量等12 种理化指标,利用主成分分析法构建盐焗鸡综合品质评价模型。结果显示:筛选出的前4 个主成分的累计贡献率为80.38%,表明这4 个主成分可以很好地代表盐焗鸡品质指标构成的原始信息,以此为基础构建的综合品质评价模型的评价结果与感官评价结果具有强相关性,此模型计算评分得到的综合评价分级结果与感官评价分级结果基本一致,该模型能够提供一个更为直观和客观的分级依据,使盐焗鸡的品质评价更加客观、准确。

关键词:盐焗鸡;主成分分析;综合品质评价模型

盐焗鸡作为广东三大名菜之一,是极具地方特色的传统粤式美食。盐焗是一种利用盐作为传热介质的烹饪技法,能使食品产生独特的风味,皮具有独特的爽脆口感,色泽呈现诱人的金黄色,营养价值丰富,深受广大消费者欢迎[1]。近年来,随着我国食品工业及物流行业的高速发展,即食盐焗鸡产品发展十分迅速,由于盐焗鸡生产企业加工技术存在差异,导致产品品质各异[2],当前对盐焗鸡的品质评价主要依靠感官分析法[3-6],但感官评定对评价人员要求较高,且存在主观性强、随意性大等缺点[7]。随着盐焗鸡工业化加工的进步,急需一种高效、客观的方法对盐焗鸡进行品质评价,而目前盐焗鸡的品质特征分析及评价方法尚难以满足需要。风味和理化指标是影响食品品质的重要因素,利用理化和风味指标数据进行分析、建立数学评价模型[8]的形式对盐焗鸡品质进行评价,能获取可量化的科学评价结果,使评价标准更加客观、规范。理化和风味指标的数据量大且维度多,直接进行分析费时费力,主成分分析(principal component analysis,PCA)法是一种降维的思维方式,是将多个信息重叠的参数转化为几个综合性指标的多元统计分析法[9],可以根据各指标的相关性和变异程度确定权重,减少主观确定各指标权重的弊端[10],目前已被广泛应用于各种食品的品质评价[11-17]

本研究利用顶空固相微萃取-气相色谱-质谱联用(headspace solid phase microextraction-gas chromatography-mass spectrometry,HS-SPME-GC-MS)技术,依据气味活度值(odor activity value,OAV)确定盐焗鸡关键风味物质,结合其理化指标数据,运用PCA法,建立盐焗鸡品质综合评价模型,以期为盐焗鸡品质评价、工艺优化、风味提升等提供科学依据,促进盐焗鸡产业快速发展。

1 材料与方法

1.1 材料与试剂

6 个市售品牌盐焗鸡样品购自京东商城,产地均为广东,依次标记为A、B、C、D、E、F。

2-甲基-3-庚酮(纯度95%) 上海阿拉丁生化科技股份有限公司;石油醚 北京市通广精细化工公司;铬酸钾(纯度99.5%) 山东科源生化有限公司;氢氧化钠、硫酸、甲基红、溴甲酚绿(均为分析纯) 国药集团试剂有限公司。

1.2 仪器与设备

智能SPME纤维头、7890B/5977A GC-MS仪美国Agilent公司;CR-400色差仪 日本柯尼卡-美能达公司;PB-10 pH计 德国Testo公司;GK-600自动凯氏定氮仪 山东海能科学仪器有限公司。

1.3 方法

1.3.1 SPME

SPME条件:称取3.00 g样品置于20 mL顶空瓶中,加入1.0 μL 1.73 μg/μL 2-甲基-3-庚烷作为内标,密封后置于60 ℃平衡20 min,随后用DVB/C-WR/PDMS萃取头于60 ℃萃取40 min,随后250 ℃解吸5 min。

1.3.2 GC-MS

参考刘欢等[18]的方法,GC条件:采用DB-WAX色谱柱(60 m×0.25 mm,0.25 μm),不分流进样,使用高纯度氦气(纯度99.99%)作为载气,流速1.2 mL/min,升温程序:初始温度40 ℃,保持3 min,以5 ℃/min的速率升温至230 ℃,保持3 min。MS条件:采用电子电离源,离子源温度230 ℃,电子能量70 eV,全扫描模式,扫描范围m/z 50~400。

1.3.3 定性及定量

根据陈鹏羽等[19]的方法稍作修改,采用内标法定性及定量,使用2-甲基-3-庚酮作为内标化合物,由仪器自带软件进行计算,得到待测化合物含量。

1.3.4 OAV计算

挥发性风味物质的OAV按下式计算[20]

式中:Ci为物质i的含量/(μg/kg);Ti为物质i的气味阈值/(μg/kg)。

1.3.5 理化指标测定

水分含量参照GB 5009.3—2016《食品安全国家标准 食品中水分的测定》中的方法测定;脂肪含量参照GB 5009.6—2016《食品安全国家标准 食品中脂肪的测定》中的方法测定;蛋白质含量参照GB 5009.5—2016《食品安全国家标准 食品中蛋白质的测定》中的方法测定;盐含量参照GB 5009.44—2016《食品安全国家标准 食品中氯化物的测定》中的方法测定;pH值测定参考赵莹鑫等[21]的方法进行;色泽测定参考Li Xin等[22]的方法进行;质构特性测定参考吴予灿等[23]的方法进行。

1.3.6 感官评价

参考钟鸣等[24]的方法并稍作修改,感官评定小组由10 位经过感官培训的研究生组成。将鸡胸肉部位带皮切成2 cm×2 cm×1 cm的鸡肉块,供感官评价。感官评定标准如表1所示。

表1 盐焗鸡感官评价标准
Table 1 Sensory evaluation criteria for salt-baked chicken

感官属性(权重)1~34~56~78~10外观(10%)色泽均一度(5%)颜色不均匀颜色稍均匀颜色均匀颜色很均匀亮度(5%)暗黄色,亮度差淡黄色,亮度一般黄色,亮度好金黄色,亮度高气味(20%)风味强度(15%)无盐焗香味盐焗香味寡淡盐焗香味较浓郁盐焗香味浓郁异味(5%)肉腥味、哈喇味、金属味重有一定肉腥味,无其他不良气味较淡的肉腥味无肉腥味滋味(30%)风味强度(18%)无盐焗香味盐焗香味较寡淡盐焗香味较浓郁,有后味盐焗香味浓郁,后味持久咸味(12%)味淡或咸味过重咸味稍重咸味一般咸味适中,味道可口口感(40%)肉质结实,咀嚼性好弹性(8%)弹性很差弹性口感较差弹性口感一般弹性很好多汁性(14%)干柴,口感粗糙水分较低,口感一般汁水感较好,较润滑汁水感强,口感润滑咀嚼性(18%)肉质软烂,咀嚼性很差肉质较软烂,咀嚼性较差肉质较结实,咀嚼性较好

1.4 数据处理及分析

GC-MS结果采用系统自带软件分析,所测数据以平均值±标准差表示,采用Microsoft Office Excel 2021软件进行数据统计,采用SPSS 26.0软件对数据进行Pearson相关性分析及显著性分析(Duncan法),P<0.05,差异显著。

2 结果与分析

2.1 不同品牌盐焗鸡挥发性风味物质分析

6 个品牌盐焗鸡中共检出39 种挥发性化合物,醇类8 种、醛类9 种、酮类1 种、酯类8 种、酚类2 种、醚类1 种、烷、烯烃类6 种、杂环类4 种。各品牌中检出的挥发性风味物质与Zhang Jie等[25]的研究相比数量较少,可能与样品贮藏温度和包装形式有关。

OAV可评估各组分对总体风味的贡献程度,对总体风味起主要作用的被称为关键风味物质[26-27]。当挥发性化合物OAV>1时,表明该化合物影响了整体气味,并被认为是特征香气成分[28]。由表2可知,醇、醛和酚类物质是A、E牌盐焗鸡中关键风味物质的主要组成,乙基麦芽酚是一种被普遍使用的增香剂,有水果香气,可去腥、抑酸,同时具有延长食品货架期的作用[29],1-辛烯-3-醇为直链醇,主要由脂质氧化产生,具有蘑菇香味[30],阈值较低,对鸡肉的风味具有一定的贡献[31]。(E)-2-癸烯醛在E牌样品风味中贡献最大。壬醛呈橘子、玫瑰香味,在A、E牌样品中均有检出,对2 种样品风味具有较大贡献。烷、烯烃类是B、F牌盐焗鸡样品中含量最高的挥发性风味物质,但烷、烯烃类物质阈值较高,对样品风味贡献不大。B、F牌盐焗鸡的关键风味物质是酚类物质。酯类物质是C、D牌盐焗鸡样品中含量最高的挥发性化合物,通常由脂肪或蛋白质降解引起的醇和酸的酯化反应产生,或来自乙醇中甘油三酯、脂肪酸和酯的醇解反应,通常具有花香和果香。C牌盐焗鸡中关键风味物质的主要组成为醇、醛类物质,D牌盐焗鸡样品中酚类物质是关键风味物质。

表2 不同品牌盐焗鸡中OAV>1的挥发性风味化合物含量
Table 2 Contents of volatile flavor compounds with OAV > 1 in different brands of salt-baked chicken

注:—.未检出或OAV≤1。

含量/(μg/kg)品牌A品牌B品牌C品牌D品牌E品牌F 1-辛烯-3-醇1299.71—1 223.56—1 485.13—桉油精304.43——(E,E)-2,4-壬二烯醛0.1——409.20——(E)-肉桂醛25—2.22——(E)-2-癸烯醛0.026——3 520—(E)-2-辛烯醛3——3.98—89.47—苯甲醛1002.72——壬醛1668.87—7.73—1 512.81—丁香酚6——4.42——乙基麦芽酚44039.8645.254.8073.4911.1786.23 2-戊基呋喃6——19.14—39.56—化合物名称阈值/(μg/kg)[30]

2.2 不同品牌盐焗鸡理化指标测定结果与分析

如表3所示,各品牌盐焗鸡样品营养成分、色泽、质构特性间的差异并不相同,A、B牌盐焗鸡样品的蛋白质、脂肪、盐含量、L*间存在显著差异(P<0.05),但水分含量、a*b*并无显著差异,而A、C牌盐焗鸡样品蛋白质含量、L*b*间存在显著差异(P<0.05),但水分、脂肪、盐含量、a*并无显著差异,因此使用单一的理化指标表征盐焗鸡品质结果存在较大差异。

表3 不同品牌盐焗鸡理化指标
Table 3 Physicochemical indexes of salt-baked chicken

注:同行小写字母不同表示差异显著(P<0.05)。

理化指标品牌A品牌B品牌C品牌D品牌E品牌F蛋白质量分数/%20.30±0.06d24.40±0.06a21.80±0.80bc20.80±1.48cd22.30±0.60b24.10±1.19a水分质量分数/%63.40±0.20ab60.80±1.33ab64.80±0.23ab60.80±13.00ab68.40±0.06a56.20±0.75c脂肪质量分数/%13.20±0.30bc9.10±0.44ef11.10±1.36cde21.30±0.83a8.60±1.51f13.80±1.73b盐质量分数/%0.70±0.05b1.09±0.02a0.61±0.07b0.67±0.02b0.66±0.10b0.60±0.04b L*62.65±2.68d65.60±2.44ab64.00±4.03bc68.57±4.18a61.95±2.32cd59.90±3.51d a*5.65±1.25b5.36±1.01b5.26±1.48b3.45±1.24c5.08±1.93b9.19±1.39a b*36.30±6.16a37.17±3.62a27.25±7.38c35.26±3.94ab34.62±3.82ab30.56±5.22bc硬度/g1 202.28±72.79b2 260.78±152.48a616.75±65.60c2 506.61±260.97a1 556.49±97.87b521.98±69.88c弹性/mm0.78±0.05a0.84±0.08a0.56±0.16a0.86±0.08b0.81±0.06a0.69±0.07ab内聚性0.74±0.02ab0.78±0.02a0.69±0.06ab0.79±0.04a0.68±0.04ab0.64±0.01b咀嚼性/mJ689.45±25.21bc1 484.18±127.95a235.85±46.46c1 714.86±307.77a871.45±128.85b237.73±41.72c pH5.94±0.04a6.26±0.07b6.40±0.03a6.05±0.02d6.14±0.05c6.27±0.08b

2.3 不同品牌盐焗鸡品质指标PCA

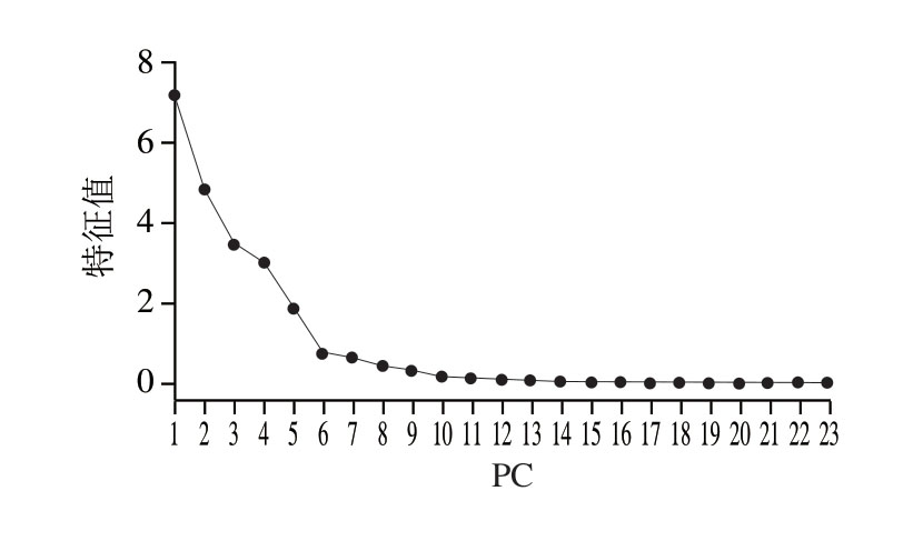
由于肉品质指标的单位不同,在数量级上差异较大,为了消除量纲不同而产生的不合理影响,对原始数据通过Z-score标准化处理后[32],构成6×23的矩阵,进行PCA,得到相关矩阵的特征值及累计贡献率,根据特征值大于1和累计贡献率超过80%的原则确定PC个数[33]。由图1、表4可知,PC1的方差贡献率为31.23%,特征值为7.18,累计贡献率31.23%,PC2的方差贡献率为20.99%,特征值为4.83,累计贡献率52.22%,PC3的方差贡献率为15.10%,特征值为3.47,累计贡献率67.32%,PC4的方差贡献率为13.05%,特征值为3.00,累计贡献率80.38%,因此选择前4 个PC进行盐焗鸡品质评价分析。

图1 盐焗鸡品质指标PC特征值的碎石图
Fig. 1 Scree plot of PC eigenvalues for quality indicators of salt baked chicken

表4 盐焗鸡品质指标PC特征值
Table 4 PC eigenvalues for quality indicators of salt-baked chicken

PC特征值方差贡献率/%累计方差贡献率/%1 7.1831.2331.23 2 4.8320.9952.22 3 3.4715.1067.32 4 3.0013.0580.38

根据表5的因子得分系数矩阵及其对应的PC,可以得出盐焗鸡成分得分及综合评分,其中F1F2F3F4分别表示各PC得分,式中S1S23分别表示蛋白、水分、脂肪、盐含量、L*a*b*、硬度、弹性、内聚性、咀嚼性、pH值、1-辛烯-3-醇、桉油精、(E)-肉桂醛、(E,E)-2,4-壬二烯醛、(E)-2-癸烯醛、(E)-2-辛烯醛、苯甲醛、壬醛、丁香酚、乙基麦芽酚、2-戊基呋喃含量23 个品质指标。根据PC特征值和特征向量构建综合评价模型。

表5 盐焗鸡品质指标PCA的特征向量
Table 5 Eigenvectors of PCA for quality indicators of salt-baked chicken

品质指标PC F1F2F3F4 S1蛋白质量分数/%0.000-0.282-0.132-0.853 S2水分质量分数/%0.3750.5730.2630.270 S3脂肪质量分数/%-0.565-0.2540.1350.290 S4盐质量分数/%-0.4350.1550.324-0.281 S5L*-0.415-0.0830.7850.162 S6a*0.051-0.349-0.661-0.311 S7b*-0.3050.571-0.2030.041 S8硬度-0.6360.4830.556-0.110 S9弹性-0.6600.5660.067-0.210 S10内聚性-0.4430.2410.5290.271 S11咀嚼性-0.6720.4410.561-0.094 S12pH0.603-0.4560.303-0.446 S131-辛烯-3-醇含量0.4890.814-0.178-0.174 S14桉油精含量-0.2000.198-0.5320.722 S15(E)-肉桂醛含量0.669-0.4320.3750.296 S16(E,E)-2,4-壬二烯醛含量0.670-0.4290.4000.287 S17(E)-2-癸烯醛含量0.4520.777-0.103-0.342 S18(E)-2-辛烯醛含量0.9080.3220.213-0.058 S19苯甲醛含量-0.2080.198-0.5140.731 S20壬醛含量0.7210.641-0.1140.142 S21丁香酚含量0.708-0.4270.3880.311 S22乙基麦芽酚含量-0.746-0.390-0.250-0.216 S232-戊基呋喃含量0.7370.5460.078-0.192

PC1的特征向量方程为:F1=0.000S1+0.375S2-0.565S3-0.435S4-0.415S5+0.051S6-0.305S7-0.636S8-0.660S9-0.443S10-0.672S11+0.603S12+0.489S13-0.200S14+0.669S15+0.670S16+0.452S17+0.908S18-0.208S19+0.721S20+0.670S21-0.746S22+0.737S23

PC2的特征向量方程为:F2=-0.282S1+0.573S2-0.254S3+0.155S4-0.083S5-0.349S6+0.571S7+0.483S8+0.566S9+0.241S10+0.441S11-0.456S12+0.814S13+0.198S14-0.432S15-0.429S16+0.777S17+0.322S18+0.198S19+0.641S20-0.427S21-0.390S22+0.546S23

PC3的特征向量方程为:F3=-0.132S1+0.263S2+0.135S3+0.324S4+0.785S5-0.661S6-0.203S7+0.556S8+0.067S9+0.529S10+0.561S11+0.303S12-0.178S13-0.532S14+0.375S15+0.400S16-0.103S17+0.213S18-0.514S19-0.114S20+0.388S21-0.250S22+0.078S23

PC4的特征向量方程为:F4=-0.853S1+0.270S2+0.290S3-0.281S4+0.162S5-0.311S6+0.041S7-0.110S8-0.210S9+0.271S10-0.094S11-0.446S12-0.174S13+0.722S14+0.296S15+0.287S16-0.342S17-0.058S18+0.731S19+0.142S20+0.311S21-0.216S22-0.192S23

由于前4 个PC反映了原先指标信息的80.38%,且原先多个指标较为复杂,故可用这4 个新综合指标进行分析。选择不同特征的方差贡献率βii=1、2、3、4)为加权系数,利用综合评价函数F=(β1F1β2F2β3F3β4F4)/0.804建立盐焗鸡风味评价模型[33]F=(0.312F1+0.21F2+0.151F3+0.131F4)/0.804。根据所建立的盐焗鸡品质评价模型计算各盐焗鸡样品的评价得分,结果如表6所示。

表6 盐焗鸡PCA得分与感官得分
Table 6 PCA scores and sensory scores of salt-baked chicken

品牌PCA得分感官评分F评分排名平均值排名A 0.3636.773 B-0.8065.606 C 1.9717.151 D-0.7956.684 E 1.7426.802 F-0.5746.645相关系数0.94

2.4 不同品牌盐焗鸡感官评价与PCA评分的相关性分析

通过计算综合评价模型得分,C牌样品的F评分最高,为1.97,B牌样品的F评分最低,为-0.80;C牌样品感官评价得分最高,为7.15,B牌样品得分最低,为5.60。总体来看,C和E牌盐焗鸡的品质相对较好,而B、D和F牌品质较差。由于感官评价的过程中,评价人员会受主体主观性的影响,同一样品可能存在内部评分差异大,感官评分平均值与其他样品相近且不具有显著性的现象,排名准确性存疑,6 种盐焗鸡的感官评分排名与F评分排名仍具有一定差异。将所建立的盐焗鸡品质评价模型的F评分与感官评价得分进行相关性比较,相关系数为0.94,这表明PCA法建立的盐焗鸡品质评价模型与感官评分具有较强的相关性,与感官评价相比更加直接和客观,可以作为盐焗鸡综合品质评价方法。

3 结论

对不同盐焗鸡样品中39 种挥发性风味物质进行OAV分析,筛选出11 种关键风味物质,结合12 种理化指标数据,利用PCA法,构建盐焗鸡综合品质评价模型,评价模型由前4 个PC构成,公式为F=(0.312F1+0.21F2+0.151F3+0.131F4)/0.804,该模型与传统感官评价结果具有强相关性,此模型计算评分得到的综合评价分级结果与感官分析评价分级结果基本一致,特别是在感官评价结果较为接近、难以直接区分时,该模型能够提供更为直观和客观的分级依据。综上所述,本研究构建了一种准确、高效的评价模型,为盐焗鸡类工业化肉类食品品质评价提供了一种新方法,对于推动食品品质评价方法的发展具有重要意义。

参考文献:

[1] 霍树棠. 东江菜及盐焗鸡[J]. 岭南文史, 1996(2): 61.

[2] MIR N A, RAFIQ A, KUMAR F, et al. Determinants of broiler chicken meat quality and factors affecting them: a review[J]. Journal of Food Science and Technology, 2017, 54(10): 2997-3009. DOI:10.1007/s13197-017-2789-z.

[3] JIANG H, ZHANG M T, YE J J, et al. HS-SPME-GC-MS and OAV analyses of characteristic volatile flavour compounds in salt-baked drumstick[J]. LWT-Food Science and Technology, 2022, 170: 114041.DOI:10.1016/j.lwt.2022.114041.

[4] 李正旭, 陈泓铮, 房林波, 等. 传统东江盐焗鸡制作工艺优化[J]. 现代食品, 2020, 26(20): 127-130. DOI:10.16736/j.cnki.cn41-1434/ts.2020.20.035.

[5] 黄华, 刘学文. 水焗法生产盐焗鸡工艺初探[J]. 中国调味品, 2012,37(3): 118-120.

[6] 周乐丹, 艾民珉, 凌子庭, 等. 4 ℃贮藏下粤式盐焗鸡品质变化及保质期研究[J]. 食品与机械, 2018, 34(6): 115-120. DOI:10.13652/j.issn.1003-5788.2018.06.025.

[7] 邵俊锋, 李波, 陆炀, 等. 基于主成分分析法的盐水鹅老卤风味强度评价模型的构建[J]. 食品与发酵工业, 2020, 46(14): 262-268.DOI:10.13995/j.cnki.11-1802/ts.023453.

[8] 刘聪, 刘欣, 王鹏, 等. 14 种市售麻椒鸡的品质及风味分析[J]. 食品工业科技, 2025, 46(1): 302-316. DOI:10.13386/j.issn1002-0306.2024020119.

[9] TIAN Y, GOU X J, NIU P F, et al. Multivariate data analysis of the physicochemical and phenolic properties of not from concentrate apple juices to explore the alternative cultivars in juice production[J]. Food Analytical Methods, 2018, 11(6): 1735-1747. DOI:10.1007/s12161-018-1169-2.

[10] 杨娅, 吴康云, 黄冬福, 等. 基于主成分分析对不同地区辣椒品质的综合评价[J]. 食品工业科技, 2024, 45(23): 264-271. DOI:10.13386/j.issn1002-0306.2023120036.

[11] 刘盼盼, 郑鹏程, 龚自明, 等. 工夫红茶品质分析与综合评价[J].食品科学, 2021, 42(12): 195-205. DOI:10.7506/spkx1002-6630-20200611-150.

[12] 尹青春, 杨穗珊, 潘永波, 等. 复合型涂膜剂对莲雾保鲜效果主成分分析综合评价[J]. 食品科学, 2022, 43(23): 254-260. DOI:10.7506/spkx1002-6630-20211227-311.

[13] HAJISEYEDRAZI Z S, KHORRAMI M K, MOHAMMADI M.Alternating conditional expectation (ACE) algorithm and supervised classification models for rapid determination and classification of the adulterated cinnamon samples using diffuse reflectance FT-IR spectroscopy[J]. Journal of Food Composition and Analysis, 2024,131: 106226. DOI:10.1016/j.jfca.2024.106226.

[14] UTAMA D T, JANG A, KIM G Y, et al. Distinguishing aroma profile of highly-marbled beef according to quality grade using electronic nose sensors data and chemometrics approach[J]. Food Science of Animal Resources, 2022, 42(2): 240-251. DOI:10.5851/kosfa.2021.e75.

[15] 王旭, 龚媛, 张同刚, 等. 基于主成分分析法羊肉火腿香气质量评价模型的构建[J]. 食品工业科技, 2015, 36(21): 122-127.DOI:10.13386/j.issn1002-0306.2015.21.017.

[16] 陈岩松, 李旭, 李春梅, 等. 运用主成分分析法构建五香驴肉品质评价模型[J]. 美食研究, 2023, 40(3): 67-74. DOI:10.19913/j.cnki.2095-8730msyj.2023.03.09.

[17] 张燕, 李升升, 赵立柱. 基于主成分和聚类分析的藏羊部位肉品质评价[J]. 食品科技, 2022, 47(4): 128-133. DOI:10.13684/j.cnki.spkj.2022.04.031.

[18] 刘欢, 张德权, 王振宇, 等. 北京烤鸭腿皮与腿肉关键挥发性风味物质解析[J]. 中国食品学报, 2021, 21(2): 308-318. DOI:10.16429/j.1009-7848.2021.02.037.

[19] 陈鹏羽, 张德权, 李少博, 等. 基于电子鼻和顶空固相微萃取结合气相色谱-嗅闻-质谱联用技术分析不同品种羊肉煮制风味特征[J]. 食品与发酵工业, 2024, 50(10): 298-305. DOI:10.13995/j.cnki.11-1802/ts.037157.

[20] DONG T Y, TIAN Z L, WANG S W, et al. Identification of key offflavor compounds during storage of fried pepper (Zanthoxylum bungeanum Maxim.) oils by sensory-directed flavor analysis and partial least squares regression (PLSR)[J]. Journal of Food Composition and Analysis, 2024, 131: 106268. DOI:10.1016/j.jfca.2024.106268.

[21] 赵莹鑫, 张德权, 葛岳, 等. 包装方式和宰后不同时间包装对羊肉品质的影响[J]. 食品科学, 2022, 43(15): 199-208. DOI:10.7506/spkx1002-6630-20210530-353.

[22] LI X, ZHANG Y, LI Z, et al. The effect of temperature in the range of-0.8 to 4 ℃ on lamb meat color stability[J]. Meat Science, 2017, 134:28-33. DOI:10.1016/j.meatsci.2017.07.010.

[23] 吴予灿, 张紫涵, 赵桂苹, 等. 椰子汁煮制对文昌鸡食用品质的影响[J]. 中国农业科学, 2023, 56(16): 3199-3212. DOI:10.3864/j.issn.0578-1752.2023.16.012.

[24] 钟鸣, 李威娜, 褚思雅, 等. 盐焗鸡消费市场调查及感官评价研究[J].嘉应学院学报, 2021, 39(3): 33-39. DOI:10.3969/j.issn.1006-642X.2021.03.006.

[25] ZHANG J, FENG M Q, ZHANG Y W, et al. Effect of low-sodium compound salt on the taste and volatile flavor of salt-baked chicken[J].International Journal of Gastronomy and Food Science, 2023, 32:100740. DOI:10.1016/j.ijgfs.2023.100740.

[26] 郑自奋, 陈晓维, 邹波, 等. 油柑品种制汁特性评价及特征性风味成分分析[J]. 食品工业科技, 2025, 46(1): 248-258. DOI:10.13386/j.issn1002-0306.2023090165.

[27] 王伯华, 王美焱, 王晨曦, 等. 臭氧处理对洞庭青鲫鱼肉挥发性成分的影响[J]. 食品与发酵工业, 2023, 49(15): 288-295. DOI:10.13995/j.cnki.11-1802/ts.035593.

[28] ZHANG X J, GAO P, XIA W S, et al. Characterization of key aroma compounds in low-salt fermented sour fish by gas chromatographymass spectrometry, odor activity values, aroma recombination and omission experiments[J]. Food Chemistry, 2022, 397: 133773.DOI:10.1016/j.foodchem.2022.133773.

[29] 中拉毛草, 张锐, 林宇红, 等. 两种产地藏羊肉挥发性风味物质和脂肪酸组成比较研究[J]. 保鲜与加工, 2024, 24(1): 48-57.

[30] 里奥·范海默特, 王凯, 冒德寿, 等. 化合物嗅觉阈值汇编[M]. 北京:科学出版社, 2018.

[31] 温欣, 肖亚冬, 聂梅梅, 等. 基于主成分分析的不同品种蓝莓脆粒品质综合评价[J]. 食品工业科技, 2024, 45(21): 208-217.DOI:10.13386/j.issn1002-0306.2023110019.

[32] 葛庆联, 刘茵茵, 樊艳凤, 等. 基于相关性分析和主成分分析的宁都黄鸡肉品质评价研究[J]. 食品安全质量检测学报, 2024, 15(10): 49-55. DOI:10.19812/j.cnki.jfsq11-5956/ts.20240322002.

[33] 孟祥忍, 王恒鹏, 吴鹏, 等. 低温蒸煮牛肉品质评价模型的构建与分析[J]. 食品科学技术学报, 2020, 38(1): 88-96.

A Quality Evaluation Model for Salt-Baked Chicken Based on Principal Component Analysis

CHEN Chao1, HAN Jiajing1,2, LI Mingyu1, YAO Jing2, WANG Zhenyu1, ZHANG Dequan1,3, ZHANG Chunjiang1,3,*
(1. Integrated Laboratory of Processing Technology for Chinese Meat Dishes, Ministry of Agriculture and Rural Affairs, Institute of Food Science and Technology, Chinese Academy of Agricultural Sciences, Beijing 100193, China; 2. Department of Food and Environmental Engineering, Heilongjiang Oriental University, Harbin 150066, China; 3. Chengdu National Agricultural Science &Technology Center, Institute of Urban Agriculture, Chinese Academy of Agricultural Sciences, Chengdu 610213, China)

Abstract: This study aimed at developing a comprehensive quality evaluation model for six typical types of salt-baked chicken in Guangdong. A total of 11 key flavor compounds were identified by headspace solid phase microextraction-gas chromatography-mass spectrometry based on odor activity values (OAVs). These flavor compounds and 12 physicochemical indicators such as protein, water, and fat contents were taken as independent variables to develop a comprehensive quality evaluation model for salt-baked chicken using principal component analysis (PCA). The results showed that the first four PCs cumulatively explained 80.38% of the total variation, indicating that these PCs could well represent the original information of the quality indexes of salt-baked chicken. The model results were significantly correlated with the sensory evaluation results. The grading results of the proposed model for the six types of salt-baked chicken were essentially consistent with those of sensory evaluation. The model could provide a more intuitive and objective classification basis, which made the quality evaluation of salt-baked chicken more objective and accurate.

Keywords: salt-baked chicken; principal component analysis; comprehensive quality evaluation model

DOI: 10.7506/rlyj1001-8123-20241209-325

中图分类号:TS201.1

文献标志码:A

文章编号:1001-8123(2025)07-0020-06

引文格式:

陈超, 韩佳晶, 李明宇, 等. 基于主成分分析的盐焗鸡综合品质评价模型构建[J]. 肉类研究, 2025, 39(7): 20-25.DOI:10.7506/rlyj1001-8123-20241209-325. http://www.rlyj.net.cn

CHEN Chao, HAN Jiajing, LI Mingyu, et al. A quality evaluation model for salt-baked chicken based on principal component analysis[J]. Meat Research, 2025, 39(7): 20-25. DOI:10.7506/rlyj1001-8123-20241209-325. http://www.rlyj.net.cn

收稿日期:2024-12-09

基金项目:广东省重点领域研发计划项目(2023B0202080003);四川省科技计划资助项目(2024ZHCG0186)

第一作者简介:陈超(1986—)(ORCID: 0000-0001-9176-859X),女,高级工程师,硕士,研究方向为畜禽食品工程化。E-mail: 584686214@qq.com

*通信作者简介:张春江(1976—)(ORCID: 0000-0001-8747-015X),男,研究员,博士,研究方向为中式畜禽食品工程化。E-mail: zsctsplab@163.com